PATENTE PARA NEGOCIAR

PATENTE PARA NEGOCIAR

location_on 安达卢西亚 西班牙

请注意:
投资于早期阶段的企业涉及风险,包括流动性不足、无股息、投资损失和稀释,应该仅作为多元化投资组合的一部分进行。该平台仅针对能够充分理解这些风险并自行做出投资决策的成熟投资者。鼓励投资者自行审核和评估投资,并自行决定是否适合进行特定投资。网站上的信息仅供参考,但我们无法保证信息的准确性或完整性。我们强烈建议投资者在进行任何投资之前,与持牌专业人士完成自己的尽职调查,并且不会提供任何法律或税务建议。

简要概述

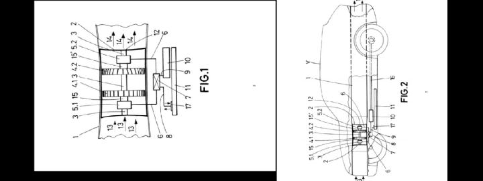
出售专利申请,该专利在20年内可以出售或签约。另一个选择:支付ICP 4,700欧元,用于在156个国家内进行31个月的发布和保护,最后支付800欧元给OEPM进行最终审核。合同协议盈利。

要点

  • 不需要大量投资。
  • 可以选择投入一笔金额并分享收益。
  • 业务基于合同或销售。
  • 可以生成更多相关专利。
  • 有可能创建自己的公司,这将创造数十亿美元。

概览

融资目标 $6,000
最低投资额 $6,000
已筹金额 $0
历史融资 $0
公司阶段 创业前期/研发
投资者角色 任何

提问
对这个项目有疑问吗?

类似项目

Loading…
Loading the web debug toolbar…
Attempt #